企业资讯
相关服务
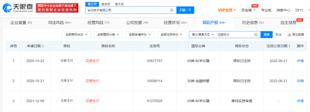
华为申请花瓣支付商标获批
天眼查App显示,近日,华为技术有限公司申请的两枚“花瓣支付”商标进度变更为“已注册”,两商标申请于2020年10月,国际分类为金融物管、科学仪器。此外,华为于2021年12月再次申请科学仪器类“花瓣支付”商标,目前该商标状态为等待实质审查。
免责声明:本文由Hxdzhuce营销自动化博客发布,不代表华信达立场,若标注错误或涉及文章版权问题,请与本网联系,本网将及时更正、删除,谢谢。如有问题咨询,请拨打:13528808632
天眼查App显示,近日,华为技术有限公司申请的两枚“花瓣支付”商标进度变更为“已注册”,两商标申请于2020年10月,国际分类为金融物管、科学仪器。此外,华为于2021年12月再次申请科学仪器类“花瓣支付”商标,目前该商标状态为等待实质审查。
免责声明:本文由Hxdzhuce营销自动化博客发布,不代表华信达立场,若标注错误或涉及文章版权问题,请与本网联系,本网将及时更正、删除,谢谢。如有问题咨询,请拨打:13528808632